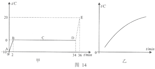
兴趣小组在研究固体的熔化实验时,根据实验记录分别正确做出了固体的熔化图像如图14甲、乙所示。

(1)根据图像甲判断的下列说法不正确。请你将错误之处打上点,并在括号内改正:
这种固体在熔化时,不断吸收热量,温度不断上升。
( )
在C点时,这种物质仍然是固体状态。
( )
(2)根据图甲、乙和下表可以判断出甲图是___________熔化的图像;请再写出一条你发现的信息:_______________________________________________________。
在1. 01×l05Pa大气压下一些物质的熔点(凝固点) ℃
|
钨3410
|
银962
|
萘 80
|
固态酒精-117
|
|
钢1515
|
铝660
|
海波 48
|
固态氦 -210
|
|
铜1083
|
铅328
|
冰 0
|
固态氧 -218
|
|
金1064
|
锡232
|
固态水银-38. 8
|
固态氢 -259
|