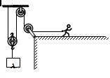
问题:小勇体重600N,利用如图所示的滑轮组在10s内使物体A 匀速上升5m。已知物体A重为800N,小勇
提问者:教育家教网160602
详细内容:

小勇体重600N利用如图所示的滑轮组在10s内使物体A

匀速上升5m。已知物体A重为800N,小勇作用在绳端的

拉力大小为500N,在此过程中,下列说法正确的是

A.水平地面对小勇的支持力做功为6000J  

B.小勇做的有用功为3000J

C.小勇拉力的功率为250W

 

D.此滑轮组的机械效率为80%

解答1:
回答者:教育家教网160602       回答时间:2016-06-05 10:50:58
审核状态:未审核
解答内容:
解答简介:

只有答案

分享到: 0
点击收缩

在线客服

进步平台网
在线客服